2011年建造师公路工程管理与实务模拟习题(3)
背景资料
某施工单位中标承担了某路段高速公路收费系统的施工,该路段设计车速为100km/h,有8处互通立交,其中2处互通立交连接其它高速公路,其余6处连接地方道路。全线设一个监控、通信、收费分中心,6个收费站,采用封闭式半自动收费方式,并且纳入全省高速公路联网收费。
收费系统的功能主要有:正确合理地收取通行费;具有采集收费交易数据、收费设施状态信息等功能。
设计文件要求货车不称重而按载重吨位分型收费,但是在招标文件中要求收费应用软件应满足货车计重收费的需要。签订合同10天后,业主正式书面告知施工单位,本路段要增加货车计重收费系统,并且提供了原设计单位收费系统变更的相应图纸和说明,其涉及的变更未超过批准的初步设计概算,但超过施工图设计批准预算。
问题:
1、省级收费系统管理体制一般分为哪三级?
2、收费系统的功能还有哪些?(写出4条即可)
3、收费系统按其基本功能可分为哪些系统?
4、《公路工程设计变更管理办法》将设计变更为哪几种?背景资料中的事件中的设计变更属于哪一种?说明理由。该设计变更由哪个部门负责审批?
标准答案:1、省收费结算中心、路段收费分中心和收费站。
2、补充如下:具备较高的服务水平;具备高可靠性;具备后备功能;具有可扩充性,易于实现升级,兼容性强,开放性好;具备处理、统计、查询、打印功能。
3、分为计算机系统、收费视频监视系统、内部对讲系统、安全报警系统、电源系统5个基本系统。
4、将设计变更分为重大设计变更、较大设计变更和一般设计变更。该变更属于较大设计变更。由省级交通主管部门负责审批。
|
某桥梁工程由某公路建设工程公司中标承建。该桥梁下部结构为φ1.2m钻孔灌注桩,上部结构采用悬臂法施工。施工过程中发生如下事件

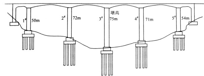
事件1:施工中,根据灌注砼的实际情况,项目部及时采取了相应措施: 1)考虑到灌注时间较长,在混凝土中加入缓凝剂。为避免砼离析,砼坍落度控制在10~15cm。 2)首批混凝土灌注后埋置导管的深度为1.2m,在随后的灌注过程中,导管的埋置深度为1.5m。 3)当灌注混凝土进行到23m时,发现导管埋管,但堵塞长度较短,施工人员采取用型钢插入导管的方法疏通导管; 4)当灌注到27m时,导管挂在钢筋骨架上,施工人员采取了强制提升的方法;之后继续灌注混凝土直到完成。养生后经检测发现断桩。 事件2:施工项目部为了很好地控制施工成本,拟定了如下几条管理原则: (1)成本管理最低化原则;(2)全面成本管理原则;(3)成本责任制原则;(4)成本管理有效化原则。 事件3:项目经理部决心精心组织、科学施工,搞好现场技术质量管理,做了包括如下环节的工作: 1)项目经理部由总工程师组织进行了技术交底; 2)为真正落实公司的现场技术管理制度制定了执行细则 事件4:施工单位为本桥配置了以下主要施工机械和设备:反循环钻机、混凝土高压泵、混凝土搅拌站、塔吊、载人电梯、悬臂式掘进机、架桥机、预应力张拉成套设备、爬模设备、钢模板、钢护筒、挂篮设备. 事件5:工程交工后,公司有关科室对项目经理的成本目标方面进行了考核:考核的内容有:1)项目成本目标和阶段成本目标的完成情况;2)建立以项目经理为核心的成本管理责任制的落实情况; 问题: 1、事件1中,请指出采取的4条措施是否正确?如不正确,请指出并改正。(逐条回答) 2、请指出事件1中,水下砼堵塞导管时,除了背景资料中提到的方法,疏通导管还有哪些方法? 3、事件2中,成本管理原则是否完善?若不完善,请补充。请解释成本责任制原则的含义。 4、事件3中,项目经理部的技术交底存在什么问题,如何纠正?除技术交底制度,还应执行好哪些现场技术管理制度?(写出4条) 5、根据示意图,说明施工单位配备的施工机械和设备分别用于本桥哪些部位的施工?哪些设备不适用于本桥施工? 6、补充企业对项目经理关于成本目标的考核内容。 |
|
|
标准答案: 1、1)为避免砼离析,砼坍落度控制在10~15cm不正确。应改为:为避免砼离析,砼坍落度控制在18~22cm 2)导管的埋置深度为1.5m错误,应改为:导管的埋置深度为2~6m 3)正确。 4)导管挂在钢筋骨架上,施工人员采取了强制提升的方法错误,应改为:导管挂在钢筋骨架上,应设法转动导管,使之脱离钢筋笼。 2、还有插拔抖动和在导管上安装振捣器的方法。 3、不完善。还有:成本管理科学化原则。成本责任制的关键是划清责任,并与奖惩制度挂钩。 4、“项目经理部由总工程师组织进行了技术交底”错误,应改为:项目经理部的技术交底工作由项目经理组织,项目总工主持实施。 技术管理制度还有:图纸会审制度;测量管理制度;材料、构配件试验管理制度;隐蔽工程验收制度;变更设计制度;质量检验评定制度;技术总结制度;技术档案制度。 5、桩基础:反循环钻机,钢护筒。承台、低墩:钢模板。高墩;塔吊,电梯、爬模设备。上部构造:挂篮设备、预应力张拉设备 全桥:混凝土输送泵、混凝土搅拌站。 不适用于本桥的:悬臂式掘进机、架桥机 6、补充如下:
1)成本计划的编制和落实情况;2)对各部门、各施工队和班组责任权利成本的检查和考核情况。3)在成本管理中贯彻责任权利相结合原则的执行情况。 |
考试交流区成绩查询交流群(点击加入QQ群可快速加群交流成绩查询相关信息我们会及时在群里通知):
(群:129722917)
温馨提示:有任何报考及考试相关疑问,可添加网校专业老师个人微信号“edu24olxu”咨询。!考生可下载手机APP,随时掌握考试资讯!

扫一扫上面的二维码,添加老师个人微信号,所有课程七折开通
相关推荐:
1·2023年一级建造师报名时间
2·一级建造师报考条件
3·一级建造师考试真题
4·2022年一级建造师成绩查询时间
5·2023年一级建造师考试时间9月9、10日
6·一级建造师考试科目
版权声明 --------------------------------------------------------------------------------------
如果本站所转载内容不慎侵犯了您的权益,请与我们联系

,我们将会及时处理。如转载本站内容,请注明来源:
一级建造师考试网(www.jzsedu.org)。