某桥梁工程由某公路建设工程公司中标承建。该桥梁下部结构为φ1.2m钻孔灌注桩,上部结构采用悬臂法施工。施工过程中发生如下事件
事件1:施工中,根据灌注砼的实际情况,项目部及时采取了相应措施:
1)考虑到灌注时间较长,在混凝土中加入缓凝剂。为避免砼离析,砼坍落度控制在10~15cm。
2)首批混凝土灌注后埋置导管的深度为1.2m,在随后的灌注过程中,导管的埋置深度为1.5m。
3)当灌注混凝土进行到23m时,发现导管埋管,但堵塞长度较短,施工人员采取用型钢插入导管的方法疏通导管;
4)当灌注到27m时,导管挂在钢筋骨架上,施工人员采取了强制提升的方法;之后继续灌注混凝土直到完成。养生后经检测发现断桩。
事件2:施工项目部为了很好地控制施工成本,拟定了如下几条管理原则:
(1)成本管理最低化原则;(2)全面成本管理原则;(3)成本责任制原则;(4)成本管理有效化原则。
事件3:项目经理部决心精心组织、科学施工,搞好现场技术质量管理,做了包括如下环节的工作:
1)项目经理部由总工程师组织进行了技术交底;
2)为真正落实公司的现场技术管理制度制定了执行细则
事件4:施工单位为本桥配置了以下主要施工机械和设备:反循环钻机、混凝土高压泵、混凝土搅拌站、塔吊、载人电梯、悬臂式掘进机、架桥机、预应力张拉成套设备、爬模设备、钢模板、钢护筒、挂篮设备.
事件5:工程交工后,公司有关科室对项目经理的成本目标方面进行了考核:考核的内容有:1)项目成本目标和阶段成本目标的完成情况;2)建立以项目经理为核心的成本管理责任制的落实情况;
问题:
1、事件1中,请指出采取的4条措施是否正确?如不正确,请指出并改正。(逐条回答)
2、请指出事件1中,水下砼堵塞导管时,除了背景资料中提到的方法,疏通导管还有哪些方法?
3、事件2中,成本管理原则是否完善?若不完善,请补充。请解释成本责任制原则的含义。
4、事件3中,项目经理部的技术交底存在什么问题,如何纠正?除技术交底制度,还应执行好哪些现场技术管理制度?(写出4条)
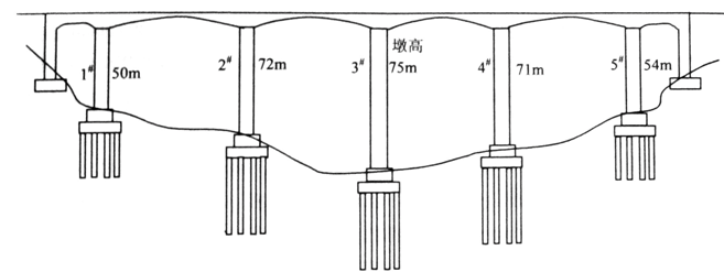
5、根据示意图,说明施工单位配备的施工机械和设备分别用于本桥哪些部位的施工?哪些设备不适用于本桥施工?
6、补充企业对项目经理关于成本目标的考核内容。
- 解析:1、1)为避免砼离析,砼坍落度控制在10~15cm不正确。应改为:为避免砼离析,砼坍落度控制在18~22cm
2)导管的埋置深度为1.5m错误,应改为:导管的埋置深度为2~6m
3)正确。
4)导管挂在钢筋骨架上,施工人员采取了强制提升的方法错误,应改为:导管挂在钢筋骨架上,应设法转动导管,使之脱离钢筋笼。
2、还有插拔抖动和在导管上安装振捣器的方法。
3、不完善。还有:成本管理科学化原则。成本责任制的关键是划清责任,并与奖惩制度挂钩。
4、“项目经理部由总工程师组织进行了技术交底”错误,应改为:项目经理部的技术交底工作由项目经理组织,项目总工主持实施。
技术管理制度还有:图纸会审制度;测量管理制度;材料、构配件试验管理制度;隐蔽工程验收制度;变更设计制度;质量检验评定制度;技术总结制度;技术档案制度。
5、桩基础:反循环钻机,钢护筒。承台、低墩:钢模板。高墩;塔吊,电梯、爬模设备。上部构造:挂篮设备、预应力张拉设备
全桥:混凝土输送泵、混凝土搅拌站。
不适用于本桥的:悬臂式掘进机、架桥机
6、补充如下:
1)成本计划的编制和落实情况;2)对各部门、各施工队和班组责任权利成本的检查和考核情况。3)在成本管理中贯彻责任权利相结合原则的执行情况。
1、1)为避免砼离析,砼坍落度控制在10~15cm不正确。应改为:为避免砼离析,砼坍落度控制在18~22cm
2)导管的埋置深度为1.5m错误,应改为:导管的埋置深度为2~6m
3)正确。
4)导管挂在钢筋骨架上,施工人员采取了强制提升的方法错误,应改为:导管挂在钢筋骨架上,应设法转动导管,使之脱离钢筋笼。
2、还有插拔抖动和在导管上安装振捣器的方法。
3、不完善。还有:成本管理科学化原则。成本责任制的关键是划清责任,并与奖惩制度挂钩。
4、“项目经理部由总工程师组织进行了技术交底”错误,应改为:项目经理部的技术交底工作由项目经理组织,项目总工主持实施。
技术管理制度还有:图纸会审制度;测量管理制度;材料、构配件试验管理制度;隐蔽工程验收制度;变更设计制度;质量检验评定制度;技术总结制度;技术档案制度。
5、桩基础:反循环钻机,钢护筒。承台、低墩:钢模板。高墩;塔吊,电梯、爬模设备。上部构造:挂篮设备、预应力张拉设备
全桥:混凝土输送泵、混凝土搅拌站。
不适用于本桥的:悬臂式掘进机、架桥机
6、补充如下:
1)成本计划的编制和落实情况;2)对各部门、各施工队和班组责任权利成本的检查和考核情况。3)在成本管理中贯彻责任权利相结合原则的执行情况。
[1] [2] 
考试交流区成绩查询交流群(点击加入QQ群可快速加群交流成绩查询相关信息我们会及时在群里通知):
温馨提示:有任何报考及考试相关疑问,可添加网校专业老师个人微信号“edu24olxu”咨询。!考生可下载手机APP,随时掌握考试资讯!

扫一扫上面的二维码,添加老师个人微信号,所有课程七折开通
相关推荐:相关文章
如果本站所转载内容不慎侵犯了您的权益,请与我们联系
,我们将会及时处理。如转载本站内容,请注明来源:一级建造师考试网(www.jzsedu.org)。





